|
聯(lián)系方式 |
|
·啟東市凱潤液壓潤滑設備有限公司 |
·地址:啟東市惠和鎮(zhèn)惠興街188號 |
·電話:0513-83662668 83660828 |
·傳真:0513-83661339 |
·總經(jīng)理:倪海泉 |
·手機:15862835772 |
·銷售經(jīng)理:龔建華 |
·手機:13906283345 |
|
|
|
|
|
|
|
|
| |
|
| |
 |
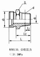
錐密封鋼絲(及棉線)編織膠管總成
錐密封膠管接頭螺紋接頭
|
錐密封膠管接頭螺紋接頭JB/T(6144.1-2)-92 |
錐(及
密55°
封非
膠密
管封
接管
頭螺
公紋
制)
螺接
紋頭
|

標記示例(1)公稱通徑
DN6的錐密封膠管接頭55°非密封管螺紋接頭:
錐接頭6/G1/8
(2)公稱通徑DN10,端連接螺紋d=M14×1.5的
錐密封膠管公制螺紋接頭:錐接頭10/M14×1.5
|
公稱
通徑
DN |
(a)公制
螺紋 |
(b)55°
圓錐管
螺紋接頭 |
(a)、(b) |
接頭d |
d1 |
do |
S |
l1 |
l2 |
L |
重量
kg |
4 |
M10×1 |
G1/8 |
M16×1.5 |
2.5 |
18 |
12 |
20 |
31 |
0.03 |
6 |
M10×1 |
G1/8 |
M18×1.5 |
3.5 |
18 |
12 |
20 |
31 |
0.04 |
8 |
M10×1 |
G1/8 |
M20×1.5 |
5 |
18 |
12 |
21 |
34 |
0.06 |
10 |
M14×1.5 |
G1/4 |
M22×1.5 |
7 |
24 |
14 |
22 |
35 |
0.08 |
10 |
M18×1.5 |
G3/8 |
M24×1.5 |
8 |
27 |
14 |
25 |
39 |
0.10 |
15 |
M22×1.5 |
G1/2 |
M30×2 |
10 |
30 |
16 |
26 |
40 |
0.14 |
20 |
M27×2 |
G3/4 |
M33×2 |
13 |
41 |
18 |
30 |
46 |
0.32 |
20 |
M27×2 |
G3/4 |
M36×2 |
17 |
41 |
18 |
37 |
52 |
0.56 |
25 |
M33×2 |
G1 |
M42×2 |
19 |
55 |
20 |
38 |
55 |
0.71 |
32 |
M42×2 |
G11/4 |
M45×2 |
24 |
55 |
22 |
41 |
58 |
0.78 |
40 |
M48×2 |
G11/4 |
M56×2 |
30 |
60 |
24 |
44 |
63 |
0.96 |
50 |
M60×2 |
G2 |
M68×2 |
40 |
75 |
26 |
50 |
71 |
1.14 |
|
| |
錐(及
密60°
封非
膠密
管封
接管
頭螺
55°紋公制)
螺接
紋頭
|
標記示例(1)公稱通徑 
DN6的錐密封膠管接頭55°非密封管螺紋接頭:
錐接頭6/G1/8
(2)公稱通徑DN10,端連接螺紋d=M14×1.5的
錐密封膠管公制螺紋接頭:錐接頭10/M14×1.5
|
公稱
通徑
DN |
(a)55°密封
管螺紋接頭 |
(b)60°密封
管螺紋接頭 |
(a)、(b) |
d |
l1 |
d |
l1 |
d1 |
do |
S |
l2 |
L |
重量
kg |
4 |
R1/8 |
4 |
Z1/8 |
4.572 |
M16×1.5 |
2.5 |
18 |
17 |
29 |
0.03 |
6 |
R1/8 |
4 |
Z1/8 |
4.572 |
M18×1.5 |
3.5 |
18 |
17 |
29 |
0.04 |
8 |
R1/8 |
6 |
Z1/8 |
4.572 |
M20×1.5 |
5 |
18 |
18 |
30 |
0.06 |
10 |
R1/4 |
6.4 |
Z1/4 |
5.080 |
M22×1.5 |
7 |
24 |
22 |
34 |
0.08 |
10 |
R3/8 |
6.4 |
Z3/8 |
6.096 |
M24×1.5 |
8 |
27 |
24 |
38 |
0.10 |
15 |
R1/2 |
8.2 |
Z1/2 |
8.128 |
M30×2 |
10 |
30 |
27 |
41 |
0.14 |
20 |
R3/4 |
9.5 |
Z3/4 |
8.611 |
M33×2 |
13 |
41 |
28 |
44 |
0.32 |
20 |
R3/4 |
9.5 |
Z3/8 |
8.611 |
M36×2 |
17 |
41 |
38 |
56 |
0.56 |
25 |
R11 |
10.4 |
Z11 |
10.16 |
M42×2 |
19 |
55 |
39 |
59 |
0.71 |
32 |
R111/4 |
12.7 |
Z111/4 |
10.66 |
M45×5 |
24 |
55 |
44 |
64 |
0.78 |
40 |
R111/2 |
12.7 |
Z111/2 |
10.66 |
M56×2 |
30 |
60 |
46 |
68 |
0.96 |
50 |
R12 |
15.9 |
Z12 |
11.07 |
M68×2 |
40 |
75 |
|
|
1.14 |
|
| |
膠
管
接
頭
推
薦
長度(參考) |
裝配長L |
320 |
360 |
400 |
450 |
500 |
560 |
630 |
710 |
800 |
900 |
1000 |
1120 |
1250 |
1400 |
偏差 |
+20
0 |
+25
0 |
+30
0 |
裝配長L |
1600 |
1800 |
2000 |
2240 |
2500 |
2800 |
3000 |
4000-5000 |
≥5000 |
偏差 |
+40
0 |
+50
0 |
|
|
|
|